Product Summary
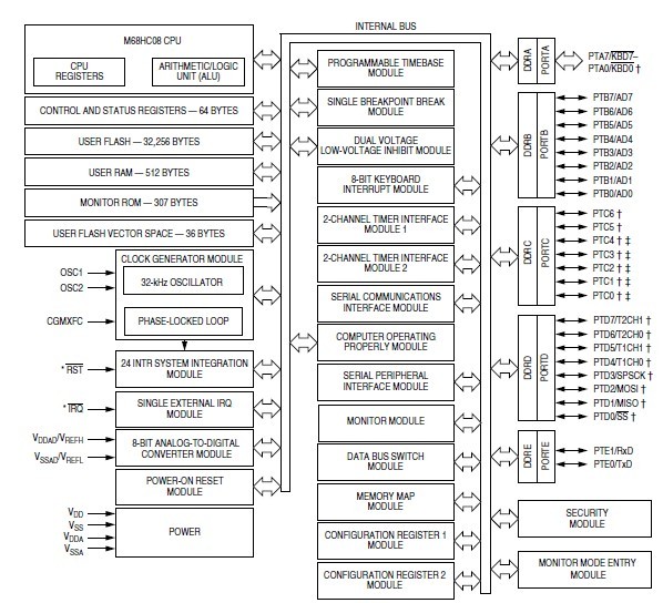
The MC908GP32CFBE is a member of the low-cost, high-performance M68HC08 Family of 8-bit microcontroller units (MCUs) with embedded EEPROM for user data storage. The MC908GP32CFBE uses the enhanced M68HC08 central processor unit (CPU08) and are available with a variety of modules, memory sizes and types, and package types.
Parametrics
MC908GP32CFBE absolute maximum ratings: (1)Supply voltage VDD: -0.3 to + 6.0 V; (2)Input voltage VIn: VSS - 0.3 to VDD + 0.3 V; (3)Maximum current per pin excluding VDD, VSS, and PTD0-PTD7, I: ± 15 mA; (4)Maximum current for pins PTD0-PTD7: IPTD0-PTD7: ± 25 mA; (5)Maximum current into VDD Imvdd: 100 mA; (6)Maximum current out of VSS Imvss: 100 mA; (7)Storage temperature Tstg: -55 to +150 ℃.
Features
MC908GP32CFBE features: (1)High-performance M68HC08 architecture; (2)Fully upward-compatible object code with M6805, M146805, and M68HC05 Families; (3)Memory map and pin functions compatible with MC68HC08AB32 and MC68HC08AB16; (4)8-MHz internal bus frequency; (5)32K-bytes user program FLASH memory with security feature; (6)512 bytes of on-chip EEPROM with security feature; (7)1K-byte of on-chip RAM; (8)Clock generator module (CGM); (9)Two 16-bit, 4-channel timer interface modules (TIMA and TIMB) with selectable input capture, output compare, and PWM capability on each channel; (10)Programmable interrupt timer (PIT); (11)Serial peripheral interface module (SPI); (12)Serial communications interface module (SCI); (13)8-channel. 8-bit analog-to-digital converter (ADC); (14)Low-power design (fully static with STOP and WAIT modes); (15)Master reset pin and power-on reset.
Diagrams

| Image | Part No | Mfg | Description | ![]() |
Pricing (USD) |
Quantity | ||||||||||||
|---|---|---|---|---|---|---|---|---|---|---|---|---|---|---|---|---|---|---|
![]() |
![]() MC908GP32CFBE |
![]() Freescale Semiconductor |
![]() 8-bit Microcontrollers (MCU) I/C HC908 FLASH |
![]() Data Sheet |
![]()
|
|
||||||||||||
![]() |
![]() MC908GP32CFBER |
![]() Freescale Semiconductor |
![]() 8-bit Microcontrollers (MCU) I/C HC908 FLASH |
![]() Data Sheet |
![]()
|
|
||||||||||||
(China (Mainland))









