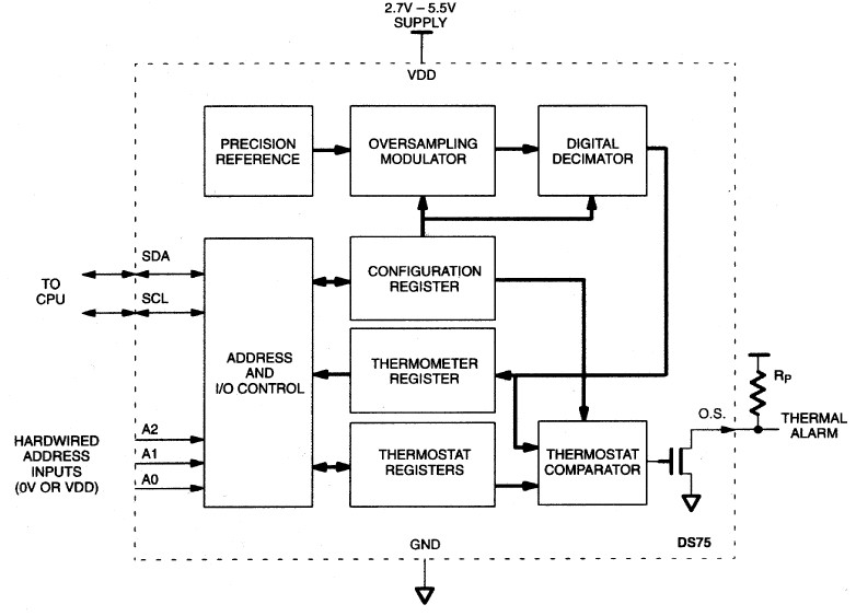
Product Summary
The DS75S is a 2–wire thermal watchdog. It provides 9–bit temperature readings which indicate the temperature of the device. Thermostat settings and temperature readings are all communicated to/from the DS75S over a simple 2–wire serial interface. No additional components are required; the device is truly a temperature–to–digital converter. The DS75S has three address bits that allow a user to multidrop up to eight sensors along the 2–wire bus, greatly simplifying the bussing of distributed temperature sensing networks. Applications for the DS75S include personal computers/servers, cellular telephones, office equipment, or any microprocessor–based thermally–sensitive system.
Parametrics
DS75S absolute maximum ratings: (1)Voltage on VDD, Relative to Ground: –0.3V to +7.0V; (2)Voltage on any other pin, Relative to Ground: –0.3V to (V DD + 0.3V); (3)Operating Temperature: –55℃ to +125℃; (4)Storage Temperature: –55℃ to +125℃; (5)Soldering Temperature: 260℃ for 10 seconds.
Features
DS75S features: (1)Temperature measurements require no external components; (2)Measures temperatures from –55℃ to +125℃. Fahrenheit equivalent is –67°F to +257°F; (3)Thermometer accuracy is ±2.0℃; (4)Thermometer resolution is configurable from nine (default) to 12 bits (0.5℃ to 0.0625℃ resolution); (5)9–bit readout mode features a max conversion time of 150 ms; (6)Thermostatic settings are user definable; (7)Data is read from/written via a 2–wire serial interface. (open drain I/O lines). 3–bit addressability; (8)Wide power supply range (2.7V – 5.5V).
Diagrams

| Image | Part No | Mfg | Description | ![]() |
Pricing (USD) |
Quantity | ||||||||||||
|---|---|---|---|---|---|---|---|---|---|---|---|---|---|---|---|---|---|---|
![]() |
![]() DS75S+ |
![]() Maxim Integrated Products |
![]() Board Mount Temperature Sensors Digital |
![]() Data Sheet |
![]()
|
|
||||||||||||
![]() |
![]() DS75S+/ |
![]() Maxim Integrated Products |
![]() Board Mount Temperature Sensors |
![]() Data Sheet |
![]() Negotiable |
|
||||||||||||
![]() |
![]() DS75S+T&R |
![]() Maxim Integrated Products |
![]() Board Mount Temperature Sensors Digital |
![]() Data Sheet |
![]()
|
|
||||||||||||
![]() |
![]() DS75S+T&R/ |
![]() Maxim Integrated Products |
![]() Board Mount Temperature Sensors |
![]() Data Sheet |
![]() Negotiable |
|
||||||||||||
![]() |
![]() DS75S-C11+T&R |
![]() Maxim Integrated Products |
![]() Board Mount Temperature Sensors Digital Thermometer and Thermostat |
![]() Data Sheet |
![]()
|
|
||||||||||||
![]() |
![]() DS75S/T&R |
![]() Maxim Integrated Products |
![]() Board Mount Temperature Sensors |
![]() Data Sheet |
![]() Negotiable |
|
||||||||||||
![]() |
![]() DS75S |
![]() Maxim Integrated Products |
![]() Board Mount Temperature Sensors |
![]() Data Sheet |
![]() Negotiable |
|
||||||||||||
![]() |
![]() DS75S-C11+ |
![]() Maxim Integrated Products |
![]() Board Mount Temperature Sensors Digital Thermometer and Thermostat |
![]() Data Sheet |
![]()
|
|
||||||||||||
(China (Mainland))











